Описание
Характеристики
Отзывы
Описание
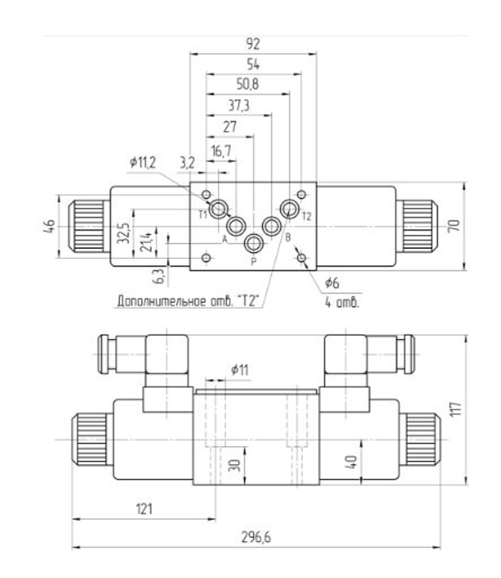
Гидрораспределитель – аппарат, изменяющий направление потока рабочей жидкости путем полного открытия или закрытия проходного сечения.
Гидрораспределители золотниковые с электромагнитным управлением типа ВЕ 6, 1РЕ 6 с Ду =6 мм применяется в станках, прессах, системах и устройствах с автоматическим и полуавтоматическим циклом работы (ГАП, манипуляторы, станки с ЧПУ) и других машинах, работающих при температуре окружающей среды: для исполнения ХЛ1-40 до +50ºС, для исполнения УХЛ4 и О4 от +1 до +55ºС.
Гидравлические распределители (с Ду=4, 6, 10 мм) имеют чугунный литой корпус 1, в котором выполнены каналы для подключения гидролиний – Р (подвод давления – центральный клапан); Т (слив); А и В (соединение с гидродвигателем). Корпус имеет пять кольцевых канавок, две крайние (сливные) из которых объединены. В центральном отверстии расположен золотник 3, который через толкатели 5 перемещается одним из электромагнитов 2. При отключенных электромагнитах пружины 4 устанавливают золотник в среднюю позицию. Для подключения магнитов к электросистеме используются штепсельные разъемы, для аварийного или наладочного переключения – кнопки 6. В двухпозиционных аппаратах с одним электромагнитом устанавливается только одна пружина.
Гидрораспределители могут быть трехпозиционного исполнения, имеющие три рабочие позиции золотника, и двухпозиционного исполнения, имеющие две рабочие позиции.
ОФ – пилот без пружинного возврата, с фиксацией (например, ВЕ 6. 574 А ОФ).
В настоящее время можно встретить несколько разновидностей наименования гидрораспределителей золотниковых с Ду=6 мм. Так, гидрораспределители ВЕ 6.44, 1 РЕ 6.44, ПЕ 6.44 являются аналогами и взаимозаменяемыми аппаратами.
Наиболее распространенные и востребованные гидросхемы: 44, 64, 14… Гидросхемы 574, 574А, 574Е, 573, 573Е предусмотрены для гидрораспределителей с одним электромагнитом.
Таким образом, наименование гидрораспределителя может выглядеть следующим образом: ВЕ 6.574А ОФ Г24 (гидрораспределитель с Ду = 6 мм, схемой распределения потока 574А, с пилотом без пружинного возврата, с фиксацией, с электромагнитным приводом постоянного тока 24В).
Характеристики
Вид запчасти
Гидрораспределитель
Бренд_85
ГДРМ
Партномер (артикул производителя)
1РЕ10 14 Г24
Длина, см
296.6
Ширина, см
70
Материал_7199
Сталь,
ABS пластик,
Чугун
Цвет товара
синий,
серебристый
Гарантийный срок
12 месяцев
Страна-изготовитель
Россия
Комплектация
Два уплотнителя контактной группы, две контактные группы, четыре присоединительных (посадочных) кольца
Вес с упаковкой, г
2010
Количество, штук
1
ТН ВЭД коды ЕАЭС
8481201009 - Клапаны регулирующие для маслогидравлических силовых трансмиссий, прочие
Отзывы
Отзывов еще никто не оставлял
